玩滚球的靠谱平台

螺旋管式换热器是什么?其作用以及用途是什么?--柯斐压缩机械

玩滚球的靠谱平台

靠谱的足球滚球平台 产品中心 AC空压机 博莱特空压机 空气后处理设备 空压机应用案列 空压机百科 玩滚球的靠谱平台 玩滚球的靠谱平台

靠谱的足球滚球平台空压机 0512-62910301

公司总部:苏州市高新区联港路 上海营销:上海市松江区宝胜路 工厂地址:无锡市新吴区长江路 电话咨询,会安排区域人员联系

螺旋管式换热器是什么?其作用以及用途是什么?

作者: 博莱特空压机 时间:2022.05.26 浏览量:3264

提到螺旋管式换热器这个词可能有些用户会有些许陌生,所以小编今天给大家整理了关于螺旋管式换热器的相关内容。

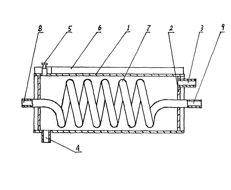
一、螺旋管式换热器

螺旋管换热器不同于传统的管壳式换热器,在结构、形状、体积等方面都有很大的变化。与管壳式换热器相比,热效率更高,内部为螺旋盘管结构,设备为不锈钢焊接,耐高温高压。因此可以处理一些高温高压工作环境下的换热工作,换热器不会因为压力和温度不稳定而变形。

换热器-螺旋管式换热器

二、螺旋管换热器的特点

螺旋管换热器基于欧文湍流抖振频率准则原理,采用换热管束小间隙设计,减少了湍流抖振现象,延长了换热器的使用寿命。此外,螺杆设备的内部结构可以提高综合传热系数,同时具有自清洁功能,减少结垢倾向。即使出现这种结构,也可以采用化学除垢的方法进行省时省力的清洗。

螺旋蒸发器可应用于广泛的领域,如化工厂生产设施、工业炉余热回收等诸多行业。以上就是博莱特螺杆空压机小编收集整理的关于螺旋管式换热器的相关内容。

上一篇:柴油空压机的油耗是多少?
下一篇:聚焦靠谱的足球滚球平台四大业务领域的绿色创新产品
靠谱的足球滚球平台 阿特拉斯空压机 博莱特空压机 空气后处理设备 靠谱的足球滚球平台 上海博莱特压缩机 空压机维修保养
{*主站.标题#1001} {*主站.标题#1001} {*主站.标题#1001} {*主站.标题#1001} {*主站.标题#1001} 365体育官网app下载注册登陆 欧博体育allbet官方 立博体育手机亚洲入口 hg体育手机游戏 沙巴体育亚洲版下载下载 TVT体育官手机版 英国威廉希尔体育公司 十大正规体育歡迎您 赌足球网站游戏下载 >网站地图-sitemap